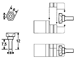
Tube Adapter (for Standard Connectors) |
|
Application : Can be used to mount the connector on mineral insulated cable or a tube type thermocouple. Can be used
several times if not overtightened.
Construction : Nickel plated.
Part NO : Dim A (mm)
A-20.154-1 1.7
A-20.154-2 3.3
A-20.154-3 4.9
A-20.154-4 6.5"
|
 |
| |
|
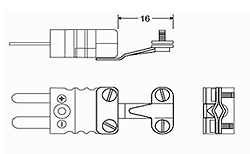
Wire Clamp Bracket (for Standard Connectors) |
|
Application : Wire clampbracket will provide optimum strainrelief. Construction allows a large difference in maximum and minimum wire diameter.
Construction : Nickel plated.
Part No : A-20.055-1 |
 |
| |
|
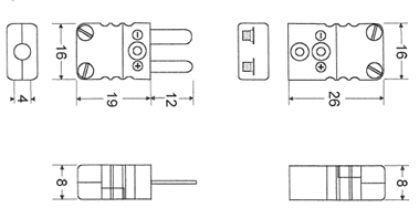
Wire Clamp Bracket (for Miniature Connectors) |
|
Application : Wire clampbracket will provide optimum stainrelief. Construction allows a large diffenrence in maximum and minimum wire diameter.
Construction : Nickel plated
Part No : A-20.050-1 |
 |
| |
|
Crimp Insert |
|
Application : Designed for soldering or crimping on mineral insulated cable or crimping on insulated wire.
Construction :
◎Brass machined insert with 0.1 mm
tolerance on the cable OD.
◎Brass with Nickel Plated |
  |
| Part No. |
Dim A (mm) |
Dim B (mm) |
| A-20.024-1 |
1.1 |
2.4 |
| A-20.024-2 |
1.6 |
2.4 |
| A-20.024-3 |
1.7 |
2.4 |
| A-20.024-4 |
2.1 |
3.2 |
| A-20.024-5 |
2.4 |
3.2 |
| A-20.024-6 |
3.1 |
4.5 |
| A-20.024-7 |
3.3 |
4.5 |
|
| |
| Part No. |
Dim A (mm) |
Dim B (mm) |
| A-20.025-2 |
1.6 |
2.4 |
| A-20.025-4 |
2.1 |
3.2 |
| A-20.025-5 |
2.4 |
3.2 |
| A-20.025-6 |
3.1 |
4.3 |
| A-20.025-7 |
3.3 |
4.3 |
| A-20.025-8 |
4.6 |
6.0 |
| A-20.025-10 |
6.1 |
7.9 |
| A-20.025-11 |
6.5 |
7.9 |
|